海通证券:2023年上半年净利润38.30亿元 同比下降19.51%

Connor 元宇宙 2023-09-01 549 0

海通证券:2023年上半年净利润38.30亿元 同比下降19.51%

中证智能财讯 海通证券(600837)8月31日披露2023年半年度报告。2023年上半年,公司实现营业总收入169.68亿元,同比增长40.18%;归母净利润38.30亿元,同比下降19.51%;扣非净利润32.12亿元,同比下降24.14%;经营活动产生的现金流量净额为-107.42亿元,上年同期为173.14亿元;报告期内,海通证券基本每股收益为0.29元,加权平均净资产收益率为2.29%。

海通证券:2023年上半年净利润38.30亿元 同比下降19.51%

以8月30日收盘价计算,海通证券目前市盈率(TTM)约为23.68倍,市净率(LF)约为0.8倍,市销率(TTM)约为4.32倍。

海通证券:2023年上半年净利润38.30亿元 同比下降19.51%

展开全文

公司近年市盈率(TTM)、市净率(LF)、市销率(TTM)历史分位图如下所示:

海通证券:2023年上半年净利润38.30亿元 同比下降19.51%

海通证券:2023年上半年净利润38.30亿元 同比下降19.51%

海通证券:2023年上半年净利润38.30亿元 同比下降19.51%

根据半年报,公司第二季度实现营业总收入84.48亿元,同比增长5.96%,环比下降0.84%;归母净利润13.96亿元,同比下降57.15%,环比下降42.65%;扣非净利润13.6亿元,同比下降57.89%,环比下降26.60%。

海通证券:2023年上半年净利润38.30亿元 同比下降19.51%

分产品来看,2023年上半年公司主营业务中,手续费及佣金净收入49.41亿元,同比下降19.54%,占营业收入的29.12%;投资收益37.18亿元,同比增长1126.3%,占营业收入的21.91%;利息净收入21.84亿元,同比下降29.26%,占营业收入的12.87%。

盈利能力方面, 2023年半年度公司加权平均净资产收益率为2.29%,同比下降0.59个百分点。

海通证券:2023年上半年净利润38.30亿元 同比下降19.51%

2023上半年,公司经营活动现金流净额为-107.42亿元,同比减少280.56亿元;筹资活动现金流净额109.24亿元,同比增加32.22亿元;投资活动现金流净额53.99亿元,上年同期为-24.46亿元。

海通证券:2023年上半年净利润38.30亿元 同比下降19.51%

2023年上半年,公司营业收入现金比为225.61%,净现比为-280.50%。

海通证券:2023年上半年净利润38.30亿元 同比下降19.51%

资产重大变化方面,截至2023年上半年,公司买入返售金融资产较上年末增加25.91%,占公司总资产比重上升1.06个百分点;其他债权投资较上年末减少12.86%,占公司总资产比重下降0.97个百分点;货币资金较上年末增加5.72%,占公司总资产比重上升0.95个百分点;交易性金融资产合计较上年末减少0.32%,占公司总资产比重下降0.41个百分点。

海通证券:2023年上半年净利润38.30亿元 同比下降19.51%

负债重大变化方面,截至2023年上半年,公司应付债券较上年末增加12.85%,占公司总资产比重上升2.79个百分点;卖出回购金融资产款较上年末减少18.32%,占公司总资产比重下降2.6个百分点;长期借款较上年末减少7.39%,占公司总资产比重下降0.63个百分点;应付短期融资款较上年末减少19.64%,占公司总资产比重下降0.44个百分点。

海通证券:2023年上半年净利润38.30亿元 同比下降19.51%

偿债能力方面,公司2023年二季度末资产负债率为76.41%,相比上年末减少0.02个百分点;有息资产负债率为38.31%,相比上年末增加2.13个百分点。

海通证券:2023年上半年净利润38.30亿元 同比下降19.51%

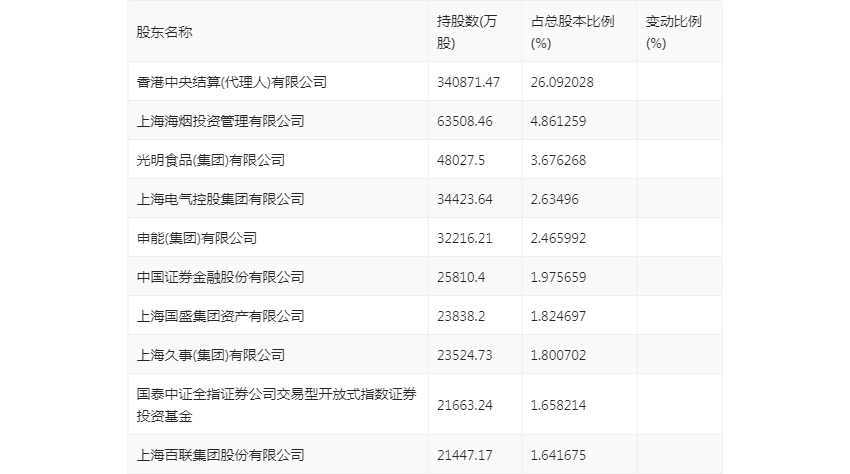
半年报显示,2023年上半年末的公司十大流通股东中,持股最多的为香港中央结算(代理人)有限公司,占比26.09%。十大流通股东名单相比2023年一季报维持不变。在具体持股比例上,国泰中证全指证券公司交易型开放式指数证券投资基金持股有所上升,香港中央结算(代理人)有限公司、上海电气控股集团有限公司持股有所下降。

海通证券:2023年上半年净利润38.30亿元 同比下降19.51%

筹码集中度方面,截至2023年二季度末,公司股东总户数为26.39万户,较一季度末下降了9177户,降幅3.36%;户均持股市值由一季度末的42.13万元上升至45.63万元,增幅为8.31%。

海通证券:2023年上半年净利润38.30亿元 同比下降19.51%

指标注解:

市盈率

=总市值/净利润。当公司亏损时市盈率为负,此时用市盈率估值没有实际意义,往往用市净率或市销率做参考。

市净率

=总市值/净资产。市净率估值法多用于盈利波动较大而净资产相对稳定的公司。

市销率

=总市值/营业收入。市销率估值法通常用于亏损或微利的成长型公司。

文中市盈率和市销率采用TTM方式,即以截至最近一期财报(含预报)12个月的数据计算。市净率采用LF方式,即以最近一期财报数据计算。

市盈率为负时,不显示当期分位数,会导致折线图中断。

评论